Apple přemýšlí jak do Apple Watch dostat fotoaparát. Podle patentu ho chce integrovat do řemínku

Apple Watch se s každou novou generací stávají méně závislé na připojeném iPhonu. Dost možná tak Apple směřuje do bodu, kdy chytré hodinky zcela osvobodí a nadělí jim úplnou samostatnost. To ovšem vyžaduje přezkoumávání nejrůznějších cest a možností. Jisté náznaky lze pozorovat u patentových přihlášek, jako je například ta, co popisuje zajímavou implementaci fotoaparátu.
Ano, slyšíte správně, Apple skutečně přemýšlí či alespoň přemýšlel o tom, jak do Apple Watch dostat kameru. Na úvod se sluší zmínit, že nejde o žádnou novinku – první chytré hodinky od Samsungu totiž fotoaparátem disponovaly, byť v následujících generacích o něj přišly.
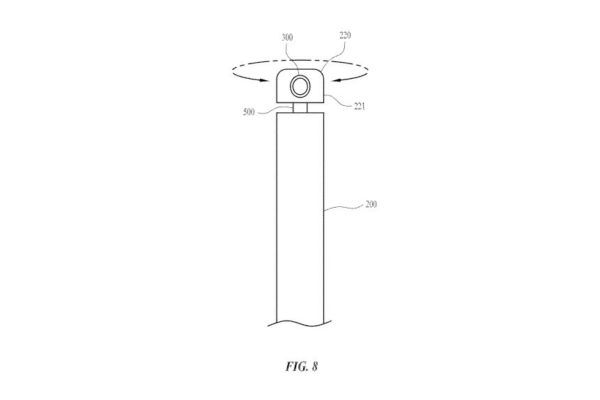
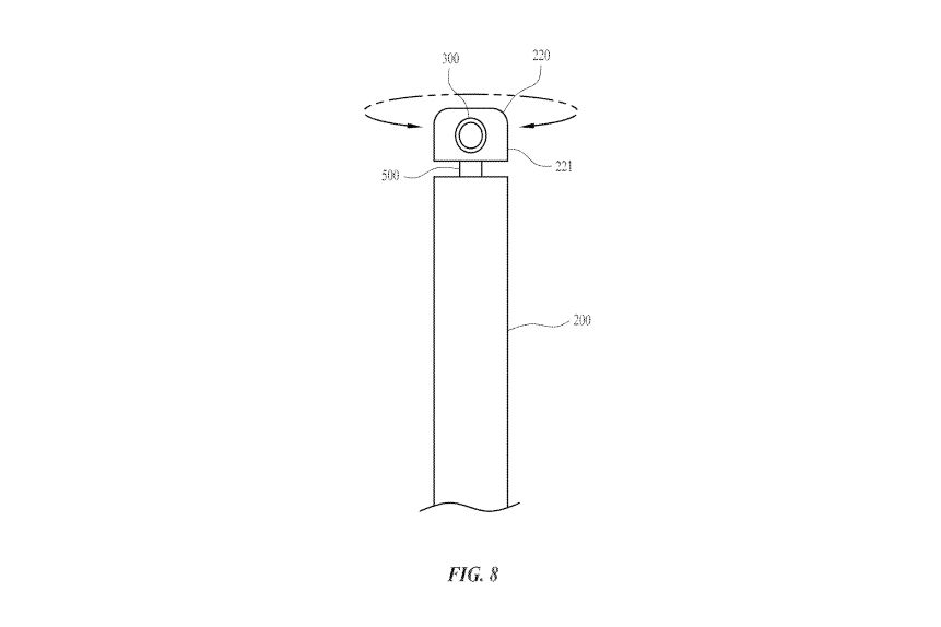
Podle uveřejněného patentu to vypadá, že v Applu koketovali s obdobou kamery zabudované do pásku hodinek. V popisu se lze dočíst o řemínku z pružného materiálu, na jehož konci je umístěn optika fotoaparátu. Flexibilita pak umožňuje ohnutí či natočení optiky do požadovaného úhlu. Součástí přihlášky je také série ilustrací, které celý systém názorně vysvětlují. Fotoaparát v Apple Watch by mohl kromě pořizování snímků sloužit také pro videohovory skrze FaceTime a další komunikační aplikace.
Zmiňovaný patent byl podán 16. září 2016, tedy týden poté, co Apple představil Apple Watch Series 2. A jelikož další dvě generace jablečných hodinek kameru nedostaly, je otázkou, zda se tak někdy vůbec stane.
Apple si v průběhu roku registruje stovky patentů, z nichž však pouze mizivé procento opustí hlavy svých tvůrců a dostanou reálnou podobu. Je tedy otázkou, zda tato myšlenka v Cupertinu stále žije, nebo byla nadobro zamknuta v šuplíku s ostatními nápady.
Co byste řekli na Apple Watch s integrovaným fotoaparátem? Dokážete si představit jeho smysluplné využití, nebo podle vás jde o zbytečnost, co bude akorát spotřebovávat drahocennou energii?









