Apple přišel na elegantní způsob, jakým budeme ovládat jeho chystané brýle pro rozšířenou realitu

Zní to neuvěřitelně, ale od uvedení prvního iPhonu uběhlo již třináct let. Smartphony obecně ušly za tuto dobu obrovský kus cesty a nyní přichází na řadu otázka, co bude dál. Jistou naději přináší koncept skládacích zařízení, které mohou celý segment mobilní elektroniky posunout na další úroveň. V podstatě není pochyb o tom, že také Apple dříve či později představí vlastní „skládačku“, která dost možná odstartuje novou kapitolu modelové řady iPhone. V Cupertinu ovšem věří ještě jedné technologii, která má obrovský potenciál. Jde o rozšířenou realitu, do níž Apple vkládá silné naděje.
Její masové rozšíření má přijít s uvedením brýlí, které nám budou promítat do zorného pole prvky rozšířené reality. Kalifornský výrobce již na takovém zařízení delší dobu pracuje, ovšem dosavadní úniky naznačují, že do uvedení finálního produktu zbývá ještě spousta času. Inženýři se totiž musí nejprve popasovat s řadou zapeklitých překážek.
K ovládání AR brýlí bude stačit jediný prst
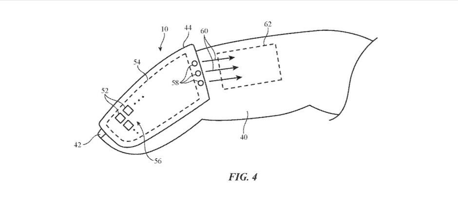
Velký otazník například visí nad způsobem, jakým budeme brýle pro rozšířenou realitu ovládat. Možnou odpověď lze nalézt v patentu, který si Apple nedávno podal u amerických úřadů. Přihláška popisuje příslušenství, které uživatel bude nosit na svém prstu. Uvnitř zařízení se má nacházet řada senzorů pro snímání pozice v prostoru či tlaku. Apple zároveň operuje s myšlenkou, že do ovladače implementuje systém zprostředkovávající haptickou odezvu.
Patent dále vysvětluje, že s tímto zařízením bude možné ovládat také další produkty včetně reproduktorů. V případě HomePodu půjde například měnit hlasitost či přeskakovat skladby prostřednictvím pohybových gest.
Samotný ovladač má být velmi kompaktním kouskem elektroniky o velikosti nehtu. Proporční vlastnosti budou v tomto směru velmi důležité, zvlášť když se počítá s jeho dlouhodobým používáním během dne.
Kdy se konečně dočkáme brýlí pro rozšířenou realitu?
Co se týče brýlí pro smíšenou realitu, doposud o nich víme pouze pramálo informací. Projekt nese kódové označení T288 a běží na operačním systému, který Apple interně označuje jako rOS. O pohon prototypů se stará upravený čipset z iPhonu, který má však brzy vystřídat procesor vycházející z 5nm architektury.
Pokud se budeme bavit o termínu uvedení finálního produktu, tak zde se zdroje často rozchází. Zatímco někteří avizují premiéru ještě letos, zbytek hovoří o debutu až v roce 2022.
Brýle pro rozšířenou či chcete-li smířenou realitu jsou dozajista něčím, co může ovlivnit spotřební elektroniku na dalších deset let. Pro výrobce pak bude důležité co nejdříve naskočit na tuto vlnu a přijít se skutečně použitelným produktem. Není pochyb o tom, že Apple chce zaujmout roli vůdce celého segmentu a proto se bude velice snažit, aby přišel s tím nejlepším možným řešením.







